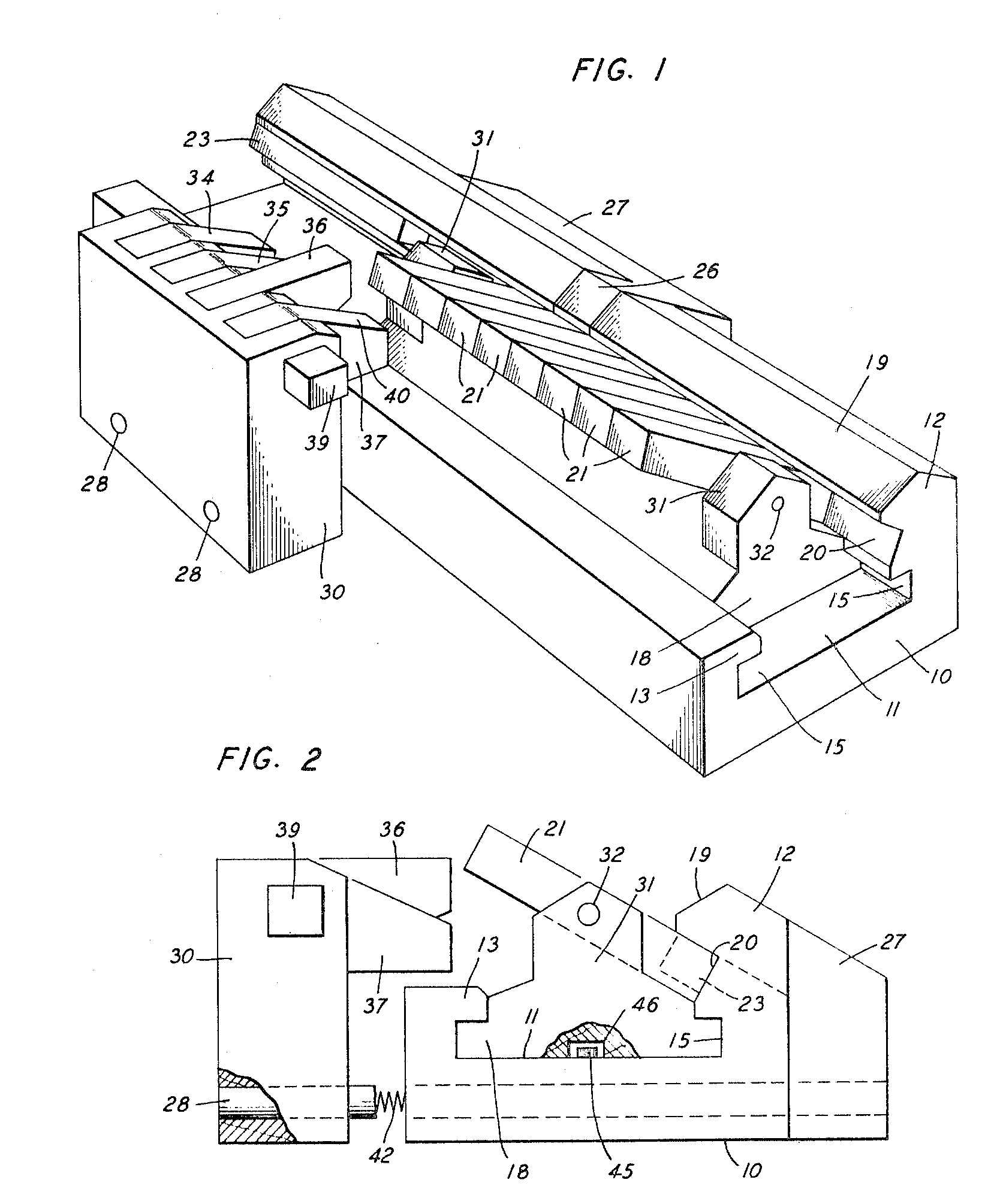
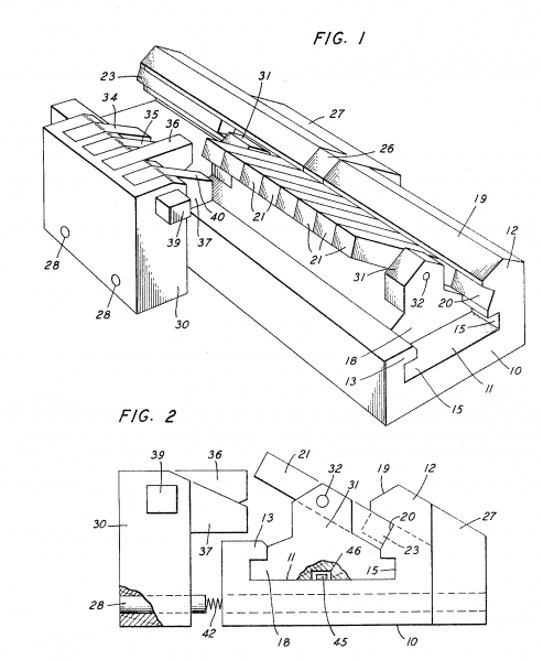
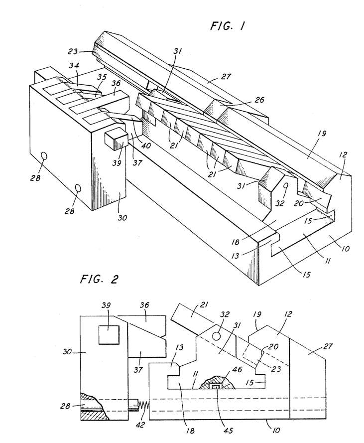
File:Keister Pattern Matching Puzzle.png
From ETHW
Size of this preview: 493 × 599 pixels. Other resolution: 1,653 × 2,010 pixels.
Original file (1,653 × 2,010 pixels, file size: 49 KB, MIME type: image/png)
File history
Click on a date/time to view the file as it appeared at that time.
| Date/Time | Thumbnail | Dimensions | User | Comment | |
|---|---|---|---|---|---|
| current | 13:59, 26 September 2008 | 1,653 × 2,010 (49 KB) | Azalma (talk | contribs) | ||
| 13:56, 26 September 2008 | 731 × 889 (137 KB) | Azalma (talk | contribs) |
You cannot overwrite this file.
File usage
The following page uses this file: