Milestones:MTI Portable Satellite Communication Terminals, 1987-1995

From ETHW
Date Dedicated
2023/12/06
Dedication #
242
Location
Hsinchu, Taiwan
IEEE Regions
10
IEEE sections
Taipei
Achievement date range
1987-1995

Title

MTI Portable Satellite Communication Terminals, 1987-1995

Citation

IMG 7465 Plaque Opening.jpeg

Microelectronics Technology Incorporation (MTI) pioneered the development of transportable satellite communication terminals suitable for use in extreme environments. Offering global voice, telex, and data connectivity in a remarkably compact form factor, their technology helped rescuers bring aid to disaster zones, reporters communicate news from war zones, and expeditions explore remote mountains and deserts.

Street address(es) and GPS coordinates of the Milestone Plaque Sites

No.1, Innovation Road II, Hsinchu 300, Taiwan, R.O.C. GPS coordinates: 24.78062, 120.99666, 24.78062, 120.99666

Details of the physical location of the plaque

In the Demo room of the headquarters of MTI, at No.1, Innovation Road II, Hsinchu 300, Taiwan, R.O.C.

Demo room in MTI

How the plaque site is protected/secured

The site is within the security of MTI, visitors can enter the building and view the Demo room after reporting to Reception.

Historical significance of the work

After events of a big 1985 earthquake in Mexico, Microelectronics Technology Incorporation (MTI) identified a need for a compact, easy-to-assemble communication equipment that can connect to any telephone system on the face of our planet at any given time. The research and development (R&D) was carried on at the company's headquarters located in Hsinchu Science-Based Industrial Park. With previous experience in manufacturing INMARSAT communication equipment for ships, MTI was able to develop the first human Transportable Communication System (TCS) series 9120, 9200, and 9700, and PCS-3000. These portable satellite phones enabled the use in various demanding situations, where communication was impossible before, and in many ways helped to shape the world and history we know today.

As mentioned, before the development of portable satcoms, MTI’s achievements were INMARSAT communication terminals for ships. Since the terminals were fixed in place, the design for these terminals focused on resisting corrosion from seawater and the constant swaying of the ship, and not on reducing the size of the device.

Fig. 1 (a) Diagram of INMARSAT maritime communication system and (b) Photos of portable satellite systems: a TCS-9200 on the left and a PCS-3000 on the right.

For Portable SatComs, MTI had to redesign key RF components, such as diplexers, low-noise amplifiers (LNA), and phase-locked oscillators (PLO), to be as compact as possible.

Fig. 1 (a) shows a diagram of an INMARSAT maritime communication system, whose antenna alone weighs 76 kg, has a diameter of more than a meter and height higher than 1.6 m. Fig. 1 (b) presents a portable system TCS-9200 completed in 1989 (left) and a PCS-3000 system completed in 1995 (right). The TCS-9200 was of a size of a briefcase weighing less than 30 kg and the antenna of 4.5 kg that can be fitted into the briefcase [1-3]. The miniaturized portable satellite system PCS-3000 fits into a small briefcase of 3 inch thickness and weighs only around 8 kg [4]. It was carried by the President of Taiwan, LEE Teng-hui, to give a speech at Cornell University in 1995.

All MTI’s satcoms were tested rigorously under severe circumstances to meet military specifications and thousands were released to the market internationally.

The historical significance of their products can be summarized as follows.

1. Enabled news and information to be transmitted live without being hindered by geographical limitations

Fig. 2 CNN used MTI portable satcom (TCS-LITE) to broadcast the scene in Baghdad, Iraq, during the 1st Gulf War (1991). Peter Arnett (middle) with CNN program producer Robert Wiener and engineering staff Nic Robertson.
Fig. 4 On Feb. 7, 1991, USA Today reported that MTI TCS-LITE satcom stands out in the Gulf War.

First most prominent usage of MTI’s portable satcoms was during the Persian Gulf War in 1991. Being compact and durable in even the most hazardous environments, the model TCS-9120 played a significant role in broadcasting the war. Peter Arnett and his team from the Cable News Network (CNN) was the only broadcaster in Iraq that was capable of sending live reports back to America (Figs. 2, 3). CNN bypassed customs by disassembling the TCS-9120 and disguised the parts as video equipment. By reassembling together the TCS-9120, CNN's team of reporters was then able to broadcast live in the warzone. With 24-hour live coverage and reporting of the war, people from the world were able to witness war firsthand with their own eyes. For the first time in history, war coverage was not delayed or censored. Politicians learned more about the war from watching CNN than from being briefed by their intelligence agencies (Fig. 4) [5-7].

However, these real-time coverages enabled by TCS-9120 portable systems ramped up pressure on politicians to promptly respond to broadcasts and impacted the decision-making processes of the American government. This eventually led to the term “CNN Effect” defined as “a theory in political science and media studies which states that global television networks play a significant role in determining the actions policymakers take and the outcomes of events.” In the aftermath of the war, CNN was propelled to new heights by pioneering the concept of 24-hour news and gained enough traction that it cemented its position among the titans of television [8].

2. Overcame communication blind spots and fulfilled the prospect of worldwide communication

Fig. 5 The “Cross-Strait Joint Climbing Team” climbed Mt. Everest, with the MTI TCS-LITE satcom as the base camp to connect the supporters. The team finally reached the summit on 5 May 1993.
Fig. 6 In November 1993, TRANSAT reported on the “Sino-British Joint Expedition” feat across the Taklamakan Desert. The content mentioned that MTI satellite phone provided a “lifeline”.

A good example of this was when In May 1993, a team of international climbers from Taiwan and China conquered the summit and transmitted from Mount Everest (Fig. 5). The trek took about 3 months, and throughout the expedition, it was TCS-9200 (also nicknamed TCS-LITE) that they carried with them to communicate through the snowy peaks. TCS-LITE also proved invaluable in the crossing of the Taklamakan Desert in September 1993. A joint expedition between England and China crossed the desert on foot starting from Kashgar and then entering the Desert of Death (Fig. 6). For the whole 53 days of walking, TCS-LITE was their lifeline and the only way of reaching out [9].

3. Served a critical role in the history of Taiwan’s democracy

President of Taiwan, LEE Teng-hui, was invited to visit Cornell University on 7 June 1995. This marks the first time a President of the Republic of China (Taiwan) ever visited America. At the time, the United States was torn by Lee’s stance on Taiwan’s sovereignty, as it sought to improve relations with Beijing and deter China’s military presence on the island. Seeing this as a collusion between the U.S and Taiwan, the Beijing government was furious and responded with missile tests that might potentially endanger the peace and safety of Taiwan. The aftermath of this visit sparked the Third Taiwan Strait Crisis. It was during these tense and unpredictable times that MTI’s portable satcoms served to inform the citizens of Taiwan what was going on during the president’s visit. The Broadcasting Corporation of China (BCC) captured the whole journey on camera using the model PCS-3000. Lee delivered his speech on "Taiwan's Democratization Experience" at Cornell’s reunion and was broadcasted back to Taiwan simultaneously.

4. Provided communication even in the most remote regions during a state of emergency.

In 1999, the infamous Jiji earthquake with a magnitude of 7.3 on the Richter scale devastated Taiwan. It was the second-deadliest quake ever recorded in history in Taiwan. Central Taiwan’s urban and mountain areas took the hardest hit and more than 2,415 were killed and 11,305 injured in this disaster. Power was cut, as power stations, transmission stations, and nuclear power plants were down. Bridges and highways were badly damaged too. To make matters worse, Taiwan’s isolated diplomatic situation caused a delayed response from the United Nations. Only a handful of international support was able to arrive in the wake of the disaster. As traffic and communication systems were destroyed along other infrastructures, Chunghwa Telecom Company requested help from MTI for portable satellite equipment and engineers to help with the emergency. With the help of MTI, they were able to establish Digital Radio in the wreckage, restoring the local telephone communication network. MTI also brought VSAT via helicopters to mountain areas to erect emergency communication stations.

Obstacles that needed to be overcome

1. Reinventing the original maritime communication system into a portable one

In essence, a portable satellite communication system is a miniaturized maritime communication system. They both possess the same properties, such as two-way communications through voice calls, fax, and telegraph. The components of a maritime communication system can be categorized into two parts: the above deck equipment (ADE) and below deck equipment (BDE). For MTI’s INMARSAT system shown in Fig. 1(a), their ADE consists of an antenna, RF unit, and a power control unit (PCU) to supply power and control the motor, while their BDE includes the electronic unit and the control unit (the actual part users operate). Since the system itself is fixed inside a vessel, its size and weight weren’t the main concern when designing. Instead, salt fog resistance and the correction of the antenna offset by the rocking of the hull were their priority. MTI was able to do so by selecting military-grade materials, coating, and using all mechanical designed vertical reference equipment (VRE) sensors.

However, when it came to the portable satellite communication system, the main obstacles to overcome were to decrease size and weight, how to withstand shocks that may happen during the transportation, and how to maintain performance under various harsh environments. The first-generation portable satcom TCS-9120 completed in 1987 not only solved the aforementioned problems but also passed military standards while being compact enough to fit inside two 70*50*25 cm suitcases. Although its total weight exceeded 60 kg, the TCS-9120 was much more portable as compared to the INMARSAT maritime communication system, whose antenna alone weighs 76 kg, has a diameter longer than a meter, and height higher than 1.6 m.

In 1989, its successor TCS-9200 was revealed. It was a size of a large briefcase weighing less than 30 kg and had a 4.5 kg antenna. Please refer to Table 1 for the detailed specifications of the series products of portable satellite communication systems.

Table 1 Comparison of portable satellite communication system product specifications.

2. Components and circuit breakthrough

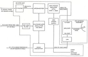
Fig. 7 System block diagram of portable satcom system.
Fig. 8 RF block diagram of portable satcom system.
Fig. 9 In the 1990s, MTI’s engineers developed the TCS-LITE in the laboratory.

The system block diagram and the RF part of the portable satellite communication system shown in Fig. 7 and Fig. 8, respectively, isn’t that far off from a maritime communication system. MTI had improved upon several RF components to reduce the bulk and weight of their satcoms (Fig. 9). For instance, they incorporated High-Q dielectric resonators with a silver-plating manufacturing process to massively reduce the size and weight of their diplexers. Also, several improvements were made in a phase-locked loop (PPL) and local oscillator module to enable the system to compensate for frequency changes caused by temperature and vibrations. These improvements allowed for a steady RF signal, thus maintaining a stable connection with the satellite. MTI also used impedance matching circuits to improve the efficiency of power amplifiers (PA), and measured results of the frequency response of a power amplifier in TCS-2100 are shown in Fig. 10.

It is worth mentioning that at that time, RF-related ICs had not yet been introduced, so the electronic components MTI used were conventional transistors, diodes, etc. to design a low noise amplifier (LNA), as shown in Fig. 11. It wasn’t easy making small, lightweight but stable RF components with only discrete circuits. However, it was very economical for MTI to buy components and design its own PAs, LNAs, diplexers, and other subsystems, that also could be sold to other companies. (LNA were typically priced at US$250~400 while MTI's cost was US$50, and diplexers were sold around US$1200 when MTI's cost was approximately US$250.)

Fig. 12 The case assembly electronics equipment of TCS-9200, top view (left) and bottom view (right).
Fig. 15 A TCS field testing.

Aside from the improving RF components, another key to the successful innovation of portable communication systems was the eutectic process that incorporated design for manufacturability (DFM). This process improved the yield of the PA, phase noise characteristics of the phase-locked oscillator (PLO), and overall performance and stability of the system. Fig. 12 shows the case assembly electronics equipment of TCS-9200 and Fig. 13 shows the assembly for the RF panel. Fig. 14 shows a typical application of the eutectic process.

MTI’s research and development of their portable satellite communication systems was not limited to electronics. The most salient feature is the retractable umbrella antenna designed for portability (Fig. 15). It is an iris gap metallic mesh antenna derived from the collapsible parabolic reflector invented by Robert A. Luly in 1981 [10]. Furthermore, the usage of robust terminal housing materials alleviated heat dissipation problems stemming from its design to be compact and fit for military standards.

Features that set this work apart from similar achievements

1. The world's first portable satellite communication system.

Before the launch of MTI’s TCS-LITE in 1989, the world had not seen a satellite communication system that was small, light, and portable by a human. The system PCS-3000 with the weight of 8 kg achieved more than 10 times decrease in weight as compared with INMARSAT. Antenna evolved from a big bubble (114*150 cm, diameter*height) into a foldable umbrella (120cm diameter, Fig. 1(b)) which reduces weight from 50 kg to 4.5 kg and makes portable possible.

In addition, the enhanced heat dissipation and PA efficiency reduces power consumption from 400W for the INMARSAT Maritime system to 100W for the portable one. The compact and highly integrated RF unit and power control unit fits the portable communication system into one smaller portable briefcase.

Magnavox Inc. in New York introduced a portable satellite phone MX2020 in 1990. It stands on four legs, with an umbrella antenna and case size of 60*60*30 cm. As compared to the TCS-9200 completed earlier, the size is too large to fit into a briefcase.

2. The ability to perform under extreme conditions and harsh environments.

Designed to be lightweight, easy to assemble, and durable, MTI’s satcom was a practical choice for most circumstances. Historically, they have appeared in warzones, disaster sites, deserts, and snowy peaks. MTI’s microwave engineering technology made it possible to complete the wireless communication network without leaving any blind spots on the globe.

Fig. 17 The Maritime Satellite Communication Conference was held in Paris in Oct. 1993, and MTI advertisement on Ocean Voice.

TCS-LITE has also been used in numerous influential events, including the World Summit (Figs. 16, 17), major global sports events (Fig. 18), and political occasions. Due to these exposures, especially during the Persian war, MTI quickly garnered interest around the world. Often there were foreign officials, even leaders from Central and South American countries visiting Hsinchu headquarters. An area was specifically set up for these guests to call back to their country using MTI's portable satellite phone (Figs. 19, 20). From there they can reach out to their family or keep in touch with their office.

Fig. 18 The 1992 International Car Relay Race started in Paris and arrived in Beijing via Moscow. Along the way, many news agencies used the TCS-LITE satellite.

Significant references

References:

1. CBR Staff Writer, “Mobile telesystems offers a suitcase-size satellite transmitter,” Tech Monitor, Jul. 18, 1989. Accessed on: Feb. 14, 2022. [Online]. Available: https://techmonitor.ai/techonology/mobile_telesystems_offers_a_suitcase_size_satellite_transmitter. (Note: MTI has a new portable satellite communications transmitter small enough to fit into a standard suitcase.)

2. MTI TCS-LITE (TCS-9200) won 1989 Taiwan Science Park Innovative Product Award (in Chinese Media:1989_Innovative_Product_Award.pdf

3. MTI TCS-LITE (TCS-9200) Brochure Media:TCS_LITE_9200.pdf

4. Successor Product Brochure Media:TCS_ultraLITE_9700,pdf: Media:M_Brief_PCS3000.pdf

5. P. Arnett, Live from the Battlefield. London, U.K.: Corgi Books, 1995. ISBN 13: 9780671755867

6. Wikipedia contributors,“Nic Robertson,” Wikipedia, The Free Encyclopedia, Dec. 9, 2020. Accessed on: Feb. 14, 2022. [Online]. Available: https://en.wikipedia.org/wiki/Nic_Robertson. (Note: Nic Robertson joined CNN in 1990 and reported from Baghdad, Iraq, during the First Gulf War.)

7. CNN, “Iraq Memories: Reporter Nic Robertson,” YouTube, Dec. 9, 2011. Accessed on: Feb. 14, 2022. [Online]. Available: https://youtu.be/THxJACHCeRw. (Note: CNN covers Iraq: Robertson talks about sneaking a satellite phone into the country.)

8. T. B. Allen, F. C. Berry, and N. Polmar, CNN: War in the Gulf. Atlanta, GA, USA: Turner Publishing, 1991. ISBN 10: 1878685007.

9. Patrick H. Wang, Hua Yan Yi Wang memoir. (in Chinese) Taipei, Taiwan: Institute of Modern History, Academia Sinica, 2018. ISBN: 978-986-05-7024-3.

10. R. A. Luly, "Collapsible parabolic reflector," (Aug. 26, 1986). US4608571A. Accessed on: Feb. 15, 2022. [Online]. Available: https://patents.google.com/patent/US4608571A.


Fig. 10 Frequency response of a PA designed by MTI.
Fig. 11 Schematic of an LNA designed by MTI in 1986.
Fig. 13 The assembly RF panel of TCS-920.
Fig. 14 Schematics of a eutectic process implemented microwave circuit.
Fig. 3 In 2007, Peter Arnett was invited by the " Lung Yingtai Cultural Foundation " to give a speech and met MTI Founder Patrick H. Wang.
Fig. 16 MTI Founder Patrick H. Wang introduced the TCS-LITE at INMARSAT Radio Show in London.
Fig. 19 In the 1990s, the prime minister of Saint Vincent and the Grenadines used the TCS-LITE called home at MTI’s Hsinchu headquarters.
Fig. 20 Alfredo Felix Cristiani Burkard, the president of El Salvador used the TCS-LITE called home.

Supporting materials

See references


Map

Loading map...